HKSTUDIE EXHAUST for BMW M3/M4 G80/G81/G82 Comp

Combines gentle yet powerful sound
R51 Phase 2 compliant
HKSTUDIE EXHAUST SYSTEM
Name:HKSTUDIE EXHAUST for BMW G80/G81/G82 Comp
Model:BMW M3/M4 G80/G81/G82
MSRP:JPY700,000-
Code No.:HKSTUDIE-EX001
Make:BMW
Model Year:2021-
Engine:S58B30A
Packing Dimensions (mm):C/No.1: 1,515 x 600 x 335 C/No.2: 1,161 x 460 x 290
Weight (kg):39 (C/No.1: 25 C/No.2: 14)
JAN Code:4957266941010





– FEATURES –
A one-of-a-kind tail tip design
A specially designed tail tips paid homage to the legendary “BMW 3.0 CSL“. It has a thick-walled slash-cut tail tips, emphasizing the texture of the edges, and the surface is blasted to express a dull glossy finish. Features a sound deadening inner slits to create a one-of-a-kind tail tip design.
Gentle yet powerful sound
The OEM exhaust of the G8X generation M produces a sporty sound that is distinctive of the M series. Since replacing only the main muffler does not produce a significant change in sound, the HKSTUDIE exhaust features a layout that deletes the middle muffler. The unique sound tuning based on frequency analysis has achieved gentle yet powerful sound.
Compliant with Japan’s vehicle inspection regulations
Although it gives off a powerful sound, it still meets the strict sound regulation of UN ECE-R51.03 Phase 2. This products can be used safely for daily use and is compliant with Japan’s vehicle inspection regulations.
Reduce exhaust pressure by up to 35%
Optimized pipe layout and a main muffler without restrictions reduce exhaust pressure by up to 35% compared to the OEM muffler. This results in increased boost responsiveness and higher output at high RPM range, and increases power output by up to 5kw and torque by up to 15Nm.
A 2-year or 30,000 km product warranty
By manufacturing in-house at our factory in Japan and conducting strict quality control, we are able to offer a 2-year or 30,000 km product warranty from the time of purchase.
– CONFIGURATION –

| Certification Number | JARI10240006P |
| Main Material | SUS304 |
| Tail Tips Outer Diameter | 101.6mm (Quad Exit Style) |
| Main Pipe Diameter | 70mm x2⇒60.5mm x2 |
| Sound Level (OEM) | 94dB (Idle: 63dB) |
| Sound Level (HKSTUDIE) | 97dB (Idle: 64dB) |
| Minimum Ground Clearance | 135mm (#2 Mid Pipe) |
– PERFORMANCE –
35% reduction in exhaust resistance (max.)
By optimizing the layout, adopting a straight pipe without squeezing and the internal structure of the main muffler without restrictions, exhaust resistance is significantly reduced compared to the OEM exhaust as shown in the graph below as a result of in-house testing.
Flow Bench Testing

Power/Torque Curve

Increases output +5kw and torque +15Nm
Lowering exhaust pressure leads to higher engine power output. As shown in the figure below, the response of the turbo boost is improved in the low rpm range, and torque is increased by up to 15Nm. As for power output, the better exhaust flow leads to more power at higher engine speeds, increasing the power by up to 5kw. All tests at our headquarters were conducted using vehicles in stock condition except for the exhaust system. The difference in power output between OEM and HKSTUDIE exhaust systems will widen further when the ECU is analyzed and tuned to increase power output.


Sound Features
Exhaust sound tuning based on frequency analysis
Generally, low-frequency noise below 100 Hz are said to be unpleasant and oppressive, and are described as drone sounds in the cabin of a car. HKSTUDIE produced various prototype exhausts and conducted sound frequency analysis.
General exhaust with internally constructed mufflers will have a marked drone sound (see the graph below around 100 Hz), while the OEM exhaust successfully muffles the low-frequency sound.
This drone sound is especially noticeable when cruising at 80 to 100 km/h on highways. HKSTUDIE exhaust has newly designed the inside of the muffler silencer to suppress the muffled sound and to emphasize the mid-frequency sound above 200Hz, which is considered to be a sporty sound.
Thanks to its gentle sound during cruising, the driver and passengers will not feel any discomfort, and once the driver steps on the gas pedal, they will enjoy the powerful sound.

Exhaust Sound Level
In-house measurements of UN-ECE R51, a rough guide to the volume of an exhaust system, are shown below. It is a comparison of three different types of mufflers: a stock exhaust, a prototype of a general muffler, and an HKSTUDIE exhaust.
| dB(A) | Left | Right | ||
| Partial Throttle | Throttle Off | Partial Throttle | Throttle Off | |
| OEM | 85.9 | 93.7 | 89.0 | 94.0 |
| HKSTUDIE | 88.5 | 95.8 | 92.2 | 96.6 |
| General | 84.6 | 92.6 | 87.0 | 92.6 |

– DETAILS –

Exclusive tail tip design

Sound muffling inner slits

High-quality exhaust flap reputed by auto manufacturers

R51-03 certification plate

Welding by very skilled Japanese “Takumi” craftsman

– REMARKS –
Japanese Exhaust Noise Regulation

This product has been inspected and certified for UN-ECE R51.03. The vehicles equipped with the exhaust certified by R51.03 is applied the Japanese noise regulation of year 2016, and the noise value indicated on the performance confirmation label shall be the standard value, and the standard value + 5dB shall be the regulation value. (In the case of this product, the noise value indicated on the performance confirmation plate is 97 dB, so the Japanese exhaust noise regulation limit value is 102 dB)
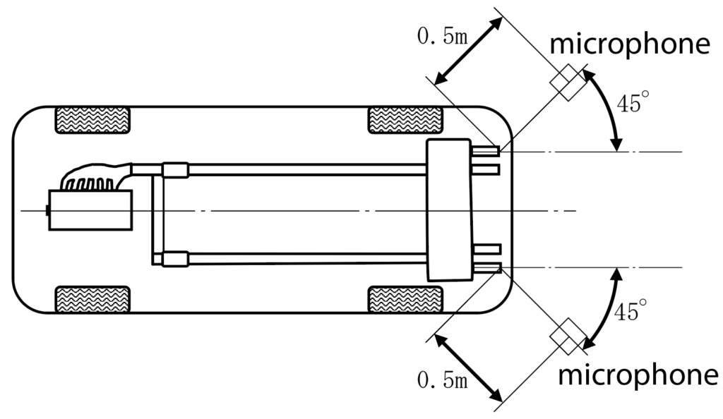
The measurement RPM for exhaust noise is taken at 3,750 rpm, which is the RPM indicated in the remarks column of the vehicle inspection certificate. The measurement point is as described in R51-03. As shown in the figure above, the microphone should be placed at a position 0.5 m away from and at a 45-degree angle to the furthest outside exhaust tip from the longitudinal centerline of the vehicle.
ALL PICTURES SHOWN ARE FOR ILLUSTRATION PURPOSE ONLY. UNAUTHORISED REPRODUCTION AND DISTRIBUTION IS STRICTLY PROHIBITED. ACTUAL PRODUCT MAY VARY DUE TO PRODUCT ENHANCEMENT.

